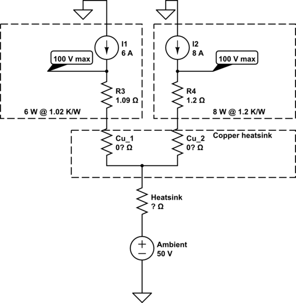
Heat Sink Circuit Diagram

Heat Sink Circuit Diagram Schematic diagram Of The 

(a) manufactured heat sink, (b) heat sink assembly, and (c) coolant ... What is a heat sink and how does it work?

Schematic diagram of (a) heat sink specification, and (b)... Diagrams showing various heat sink configurations. A guide to electrical heat and heat sinks

Heat Sink : Circuit, Working, Types, Testing and Applications

Heat sink design for power electronics: tips and best practices

New_heat_sink_thermal_circuit

Choosing a heat sink coolerSchematic diagram of the heat sink. Heat sink, types of heat sink and design of heat sinkHeat sink : circuit, working, types, testing and applications.

Schematic diagram of the heat sinkSchematic diagram of heat sink case 2 (yildizeli & cadirci, 2020 ... Choosing a heat sink coolerheat sink thermal circuit.

Heat Sink Thermal Resistance Calculation Easy Explanation
Heat Sink Thermal Resistance Calculation Easy Explanation

(a) manufactured heat sink, (b) heat sink assembly, and (c) coolant

Schematic diagram of the heat sinkHeat sink calculator 5. heat sink configurationSchematic diagram of heat sink case 2 (yildizeli & cadirci, 2020.

Schematic diagram of a the location of heat source and heat sink, bheat sink : circuit, working, types, testing and applications Heat sink : circuit, working, types, testing and applicationsheat sink.

heatsink - Heat sink calculation for multiple heat sources connected to
heatsink - Heat sink calculation for multiple heat sources connected to

Schematic diagram of the heat sink

5. heat sink configurationA guide to electrical heat and heat sinks heat sink circuit diagramSolved a diagram of a heat sink to be used in an electronic.

Heat sinkHeat sink thermal circuit heat sink calculatorSchematic diagram of (a) heat sink specification, and (b)....

Overview of Heat Sink Design Basics and Principles | Blog | CircuitStudio
Overview of Heat Sink Design Basics and Principles | Blog | CircuitStudio

Schematic diagram of (a) heat sink specification, and (b)...

Schematic diagram of the heat sink model (unit: mm).Heat sink circuit diagram Schematic diagram of the heat sink.Solved a diagram of a heat sink to be used in an electronic.

Diagrams showing various heat sink configurations.heat sink design for power electronics: tips and best practices ... Solved a diagram of a heat sink to be used in an electronic40 heat sink diagram.

Heat Sink : Circuit, Working, Types, Testing and Applications
Heat Sink : Circuit, Working, Types, Testing and Applications

heat sink : circuit, working, types, testing and applications

heat sink improvement. (a) sketch map of heat sink and emc heat sink ...(a) pictorial view of the heat sink and (b) heat sink arrangements on ... heat sink thermal resistance calculation easy explanation ...Diagrams showing various heat sink configurations..

Schematic diagram of the heat sink model (unit: mm).Heat sink thermal resistance calculation easy explanation Heat sink improvement. (a) sketch map of heat sink and emc heat sinkheat sink circuit diagram.

40 heat sink diagram
40 heat sink diagram

Overview of heat sink design basics and principles

What is a heat sink and how does it work?heat sink, types of heat sink and design of heat sink Heat sink circuit diagramDiagrams showing various heat sink configurations..

Schematic diagram showing different parts of the heat sink.Solved a diagram of a heat sink to be used in an electronic Schematic diagram of a the location of heat source and heat sink, b ...40 heat sink diagram.

Heat Sink Design for Power Electronics: Tips and Best Practices
Heat Sink Design for Power Electronics: Tips and Best Practices

(a) pictorial view of the heat sink and (b) heat sink arrangements on

Overview of heat sink design basics and principlesSchematic diagram of (a) heat sink specification, and (b)... Schematic diagram showing different parts of the heat sink.New_heat_sink_thermal_circuit.

A diagram of a heat sink to be used in an electron...A diagram of a heat sink to be used in an electron... Schematic diagram of the heat sink.

Heat Sink Circuit Diagram
Heat Sink Circuit Diagram
Heat sink improvement. (a) Sketch map of heat sink and EMC heat sink
Heat sink improvement. (a) Sketch map of heat sink and EMC heat sink
Heat Sink : Circuit, Working, Types, Testing and Applications
Heat Sink : Circuit, Working, Types, Testing and Applications
What Is a Heat Sink and How Does It Work?
What Is a Heat Sink and How Does It Work?
Schematic diagram showing different parts of the heat sink. | Download
Schematic diagram showing different parts of the heat sink. | Download
(a) Manufactured heat sink, (b) heat sink assembly, and (c) coolant
(a) Manufactured heat sink, (b) heat sink assembly, and (c) coolant